日照市•莒县•店子集街道
用户使用指引

个人账号注册

根据业务服务对象的不同,山东政务服务网(日照站)账号共分为两种,分别是“个人账号”和“法人账号”,用户可根据办理业务的类型正确选择,个人账号和法人账号属于两个账号,不能共用。

1.输入http://rzzwfw.sd.gov.cn/rz/public/index访问山东政务服务网(日照站)。

2.点击山东政务服务网(日照站)页面右上角的“注册”按钮,在账号登录窗口下方选择“立即注册”,进入个人账号注册界面。

3.根据页面提示填写相应的手机号码、图片验证码、短信验证码,填写无误后点击“下一步”,然后填写用户名、密码、电子邮箱。(注意:用户名设置规则长度为4~30个字符,支持字母和数字组合;密码设置规则长度为6~18位,建议两种或以上的字母、数字、符号组合)。

4.在身份验证环节中,申请人身份所在地会涉及到三种,分别是中国大陆、中国港澳台、海外其他,申请人身份所在地选择中国大陆,可以通过身份证进行身份验证;申请人身份所在地选择中国港澳台,可以通过“港澳居民来往内地通行证”和“台湾居民来往大陆通行证”进行身份验证;申请人身份所在地在海外其他,可以通过“外国人永久居留身份证”进行身份验证。

5.身份验证完成后,即可完成个人账号的注册。

法人账号注册

说明:法人注册必须法人本人进行操作,因为涉及到刷脸或者填写手机验证码,这里建议使用手机APP进行注册。

1.手机应用商店下载并安装爱山东APP

2.打开爱山东APP,点击我的,点击登录/注册

3.选择法人用户,选择下方注册

4.按照要求依次填入法人信息、扫脸、绑定企业即可

二、法人给经办人授权账号

1.首先百度山东政务服务网,点击进入

2.点击上方站点切换,选择日照,选择确定

3.点击右上角登录

4.点击单位登录,输入手机APP注册的法人账号

5.点击上方法人姓名进入单位空间

6.点击上方单位空间

7.选择下方添加单位用户

8.按要求输入个人信息,依次点击下一步即可完成注册

法人注册流程视频:

个人账号密码找回

1.个人账号如果忘记登录密码,可以选择个人登录界面中的“手机验证码”登录,登录后进入用户空间进行密码修改。也可以在个人账号登录界面中选择“忘记密码”。

2.根据提示信息可以选择登录名、手机号、证件号中的任何一种方式找回,根据自己的实际情况在“登录名”中填写本人信息。

3.在验证身份环节涉及到三种验证方式:手机号+验证码方式、邮箱+验证码方式、爱山东APP扫脸认证,用户可自由选择。

(1)在手机号码+验证码验证方式中,点击“立即验证”会出现下图页面,点击发送验证码,用手机接收短信进行验证。

(2)在邮箱+验证码方式中,点击“立即验证”会出现以下界面,点击发送验证码,用邮箱接收验证码进行验证。

(3)在爱山东APP扫脸验证的方式中,点击“立即验证”,会出现以下界面,打开爱山东APP,然后点击首页扫一扫功能进行扫脸验证。

4.根据提示信息设置新密码。

5.密码找回界面出现下图说明已经完成密码找回,系统会自动跳转到登录界面。

法人账号密码找回

1. 法人用户在政务服务网注册过法人账号,忘记登录密码,可在浏览器中输入山东政务服务网网址http://rzzwfw.sd.gov.cn/rz/public/index,打开网站后点击页面右上角的“登录”按钮,在账号登录页面选择“法人登录”,然后选择“忘记密码”进行找回。注意:法人找回密码只能找回法人账号的密码,管理员和经办人的密码需要通过登录法人账号,在法人空间中修改管理员和经办人密码。

2. 根据提示信息,填写登录名和验证码。

3. 在验证身份环节涉及到三种验证方式:手机号+验证码方式、邮箱+验证码方式、爱山东APP扫脸认证。

(1)通过“手机号+验证码方式”进行验证,点击“立刻验证”,跳转到如下界面。通过手机接受短信验证码完成验证。注意: 如果预留的手机号已停止使用可以点击“点击转人工认证”通过人工审核方式更换手机号和找回密码。

(2)通过“邮箱+验证码方式”进行验证,点击“立刻验证”,跳转到如下界面,通过邮箱接收验证码进行验证。

(3)通过“爱山东APP扫脸认证”进行验证,点击“立刻验证”,跳转到如下界面,打开“爱山东”APP点击首页上部的“扫一扫”功能实现扫脸验证。

4.根据提示信息设置新的登录密码。

5.当出现以下界面说明密码已经找回,请使用新密码登录。

网上办事咨询

1.在山东政务服务网(日照站)点击“办事咨询”模块。

2.点击“常见问题”。

3.在左侧“按部门分类”中查找该事项所在的部门,然后在该部门下查找具体问题,也可在事项名称框中直接输入问题进行查找。

4.若常见问题中没有想要咨询的问题,返回“办事咨询”模块,在列表中查询是否之前已有相同问题咨询,在左侧“按部门分类”中查找该事项所在的部门,然后在该部门下查找具体问题,也可在事项名称框中直接输入问题进行查找。

5.若之前没有相同问题咨询,点击“留言咨询”。

6.输入相关信息后点击“提交”,等待答复。

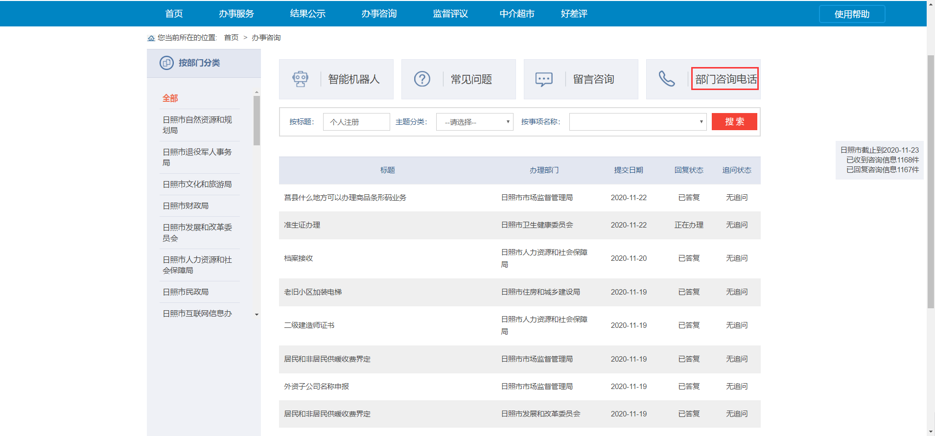
7.如以上步骤仍不能解决问题,点击“部门咨询电话”

8.找到部门电话,致电咨询。

搜索事项

1.在山东政务服务网(日照站)点击“办事服务”模块。

2.在“办事服务”页面根据需要办理的具体事项在左侧“按部门分类”中查找该事项所在的部门,然后在该部门下查找具体办理的事项,也可在事项名称框中直接输入事项名称进行查找。

阅读办事指南

1.找到需要办理的事项,在右侧点击“办事指南”。

2.查看事项基本信息。

2.查看事项办理信息,事先准备好申请材料的电子版文档。

网上申报

1.点击事项右侧的“申报”按钮,开始申报。

2.进入申报界面后,阅读业务所需审批条件及申报材料信息,全部勾选后点击“下一步”。

3.在基本信息页面填入姓名、身份证号、联系方式、联系地址,其中“*”为必填项,填写无误后点击“下一步”。

4.根据提示填写表格信息,无误后点击“下一步”。

5.在申报材料界面用户既可以上传申请材料的电子版文档,也可以选择“窗口提交”。点击材料右侧的“选择附件”按钮,找到电子文档的存档位置,然后上传,上传完毕以后,点击“下一步”。

6.结果领取方式共有两种,分别是自取和邮寄,选择“邮寄”时需要输入收件人的收件信息,无误后点击“提交”,然后点击“确定”。

7.当出现下图界面时,即完成业务的申报。

结果公示查询

1.在山东政务服务网(日照站)点击“结果公示”模块。

2.在“结果公示”页面,在左侧“按部门分类”中查找该事项所在的部门,在办件名称框中直接输入办件名称进行查找。

其他疑难问题解答

1.账号注册、登录及法人绑定相关问题,具体请电联18663778981。

2.业务办理问题请联系相关业务部门。在“办事咨询”模块,点击“部门咨询电话”,找到部门电话,致电咨询。

2.留言咨询:在“办事咨询”模块,点击“留言咨询”,根据提示信息填写姓名、电话号码、电子邮箱,选择部门和事项,填写标题、咨询内容、页面验证码,然后提交,等待业务人员回复(一般会在2个工作日内收到回复)。